| Model 5000 V-Drive Models
|
| Parts List
|
 |
|
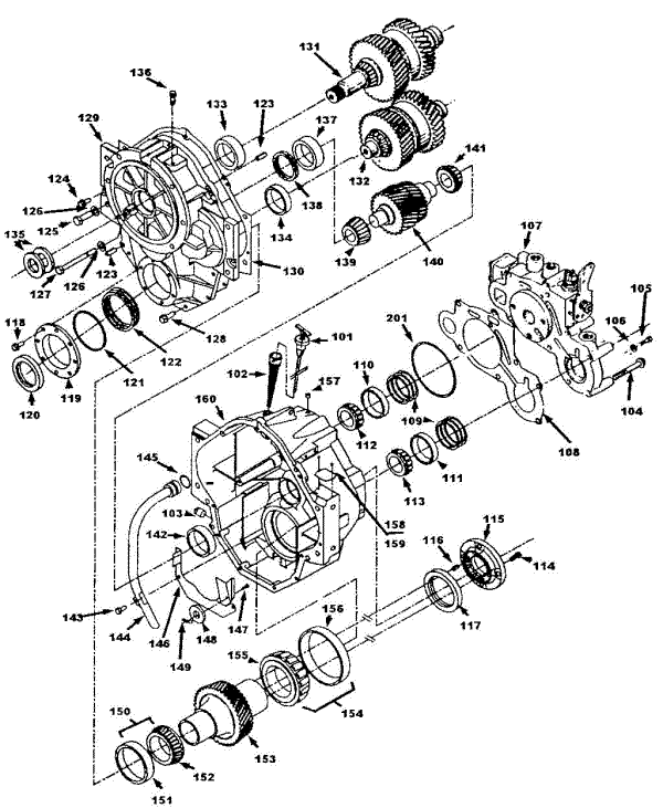
| INDEX |
PART
|
DESCRIPTION
|
QTY |
| NO.
|
NUMBER
|
| 101 |
2002-559-003
|
DIP
STICK |
1 |
| 102 |
2001-535-001
|
DIP STICK TUBE |
1 |
| 103 |
444583 |
DRAIN
PLUG |
1 |
| 104 |
1000-1
83-088 |
BOL T, Hex head, M10 x 1.5 x 70 |
7 |
| 105 |
2000-183-001
|
BOLT, Hex head, M5 x 0.8 x 001 |
1 |
| 106 |
2000-047-001
|
WASHER
|
1 |
| 107 |
2001-736-002
|
VALVE & PUMP ASSY ( Go to Valve Assembly) |
1 |
| 108 |
2001-045-002
|
GASKET,
Pump (Part Bulletin) |
1 |
| 109 |
1000-037-058
|
SHIM, 0.0030 in. (0.076 mm) thick |
AR |
| |
1000-037-059
|
SHIM, 0.0050 in. (0.127 mm) thick |
AR |
| |
1000-037-060
|
SHIM, 0.0070 in. (0.178 mm) thick |
AR |
| |
1000-037-061
|
SHIM, 0.0090 in. (0.229 mm) thick |
AR |
| |
1000-037-062
|
SHIM, 0.0200 in. (0.508 mm) thick |
AR |
| |
1000-037-063
|
SHIM, 0.0300 in. (0.760 mm) thick |
AR |
| |
1000-037-064
|
SHIM, 0.0400 in. (1.106 mm) thick |
AR |
| |
1000-037-065
|
SHIM, 0.0500 in. (1.270 mm) thick |
AR |
| |
1000-037-066
|
SHIM, 0.0600 in. (1.524 mm) thick |
AR |
| |
1000-037-067
|
SHIM, 0.0700 in. (1.778 mm) thick |
AR |
| 110 |
1000-133-009
|
BEARING CUP, Input shaft, pump
side |
1 |
| 111 |
1000-133-009
|
BEARING CUP, Lay shaft, pump side |
1 |
| 112 |
1000-133-010
|
BEARING CONE, Input shaft,
cover side |
1 |
| 113 |
1000-133-010
|
BEARING CONE, Lay shaft, cover
side |
1 |
| 114 |
1000-183-093
|
BOLT,
Flange |
8 |
| 115 |
2002-031-001
|
FLANGE
|
1 |
| 116 |
2002-043-001
|
PIN |
4 |
| 117 |
2000-044-004
|
SEAL, Output flange side. |
1 |
| 118 |
11502693 |
BOL T, Bearing retainer, output. |
6 |
| 119 |
2002-039-001
|
BEARING RETAINER, Output |
1 |
| 120 |
2000-044-003
|
SEAL, Output retainer. |
1 |
| 121 |
2000-141
-500 |
O-RING, Output bearing retainer. |
1 |
| 122 |
2002-037-001
|
SHIM, 0.0098 in. (0.250 mm) thick |
AR |
| |
2002-037-002
|
SHIM, 0.0198 in. (0.500 mm) thick |
AR |
| |
2002-037-003
|
SHIM, 0.0295 in. (0.750 mm) thick |
AR |
| |
2002-037-004
|
SHIM, 0.0393 in. (1.000 mm) thick |
AR |
| |
2002-037-005
|
SHIM, 0.0040 in. (0.102 mm) thick |
AR |
| |
2002-037-006
|
SHIM, 0.0070 in. (0.178 mm) thick |
AR |
| 123 |
2002-043-002
|
PIN,
Roll |
2 |
| 124 |
11502693 |
BOLT, Hex head, Ma x 1.25 x 20 |
2 |
| 125 |
1000-183-092
|
BOLT, Hex head, M12 x 1.75 x 35 |
4 |
| 126 |
120395 |
WASHER
|
5 |
| 127 |
1300-183-007
|
BOLT, Hex head, M10 x 1.5 x
110.0 mm |
1 |
| 128 |
1300-183-0
18 |
BOLT, Hex head, M10 x 1.5 x 30
mm |
9 |
| 129 |
2002-172-001
|
COVER,
Case |
1 |
| 130 |
2002-045-002
|
GASKET,
Cover |
1 |
| 131 |
2002-689-001
|
INPUT SHAFT & CLUTCH ASSM. (Go to Input Assy) |
1 |
| |
|
(35T*, 1.2800: 1 Ratio
transmission. ) |
|
| |
2002-689-002
|
INPUT SHAFT & CLUTCH ASSM. (Go to Input Assy) |
1 |
| |
|
(33T*, 1.5030:1 Ratio
transmission.) |
|
| |
2002-689-003
|
INPUT SHAFT & CLUTCH ASSM. (Go to Input Assy) |
1 |
| |
|
(29T*, 1.9862: 1 Ratio
transmission. ) |
|
| |
2002-689-004
|
INPUT SHAFT & CLUTCH ASSM, (Go to Input Assy) |
1 |
| |
|
(25T*, 2.4960:1 Ratio
transmission.) |
|
| 132 |
2002-567-001
|
LAY SHAFT & CLUTCH ASSM. (Go to Lay Shaft Assy) |
1 |
| |
|
(35T*, 1.2800: 1 Ratio
transmission. ) |
|
| |
2002-567-002
|
LAY SHAFT & CLUTCH ASSM. (Go to Lay Shaft Assy) |
1 |
| |
|
(33T*, 1.5030:1 Ratio
transmission.) |
|
| |
2002-567-003
|
LAY SHAFT & CLUTCH ASSM. (Go to Lay Shaft Assy) |
1 |
| |
|
(29T*, 1 .9862: 1 Ratio
transmission. ) |
|
| |
2002-567-004
|
LAY SHAFT & CLUTCH ASSM. (Go to Lay Shaft Assy) |
1 |
| |
|
(25T*, 2.4960:1 Ratio
transmission.) |
|
| 133 |
1000-133-053 |
BEARING CUP, Input shaft, cover
side |
1 |
| 134 |
1000-133-051 |
BEARING CUP, Lay shaft, cover
side |
1 |
| 135 |
1000-044-065
|
SEAL, Input shaft. |
2 |
| 136 |
A4740G
|
VENT |
1 |
| 137 |
1
000-133-053 |
BEARING CUP, Intermediate, cover |
1 |
| 138 |
2002-037-011
|
SHIM, 0.003 in. +1- (0.076
mm +1-) thick |
AR |
| |
2002-037-012
|
SHIM, 0.005 in. +1- (0.126
mm +1-) thick |
AR |
| |
2002-037-013
|
SHIM, 0.007 in. +1- (0.172
mm +1-) thick |
AR |
| |
2002-037-014
|
SHIM, 0.009 in. +1- (0.228
mm +1-) thick |
AR |
| |
2002-037-015
|
SHIM, 0.020 in. +1- (0.505
mm +1-) thick |
AR |
| |
2002-037-016
|
SHIM, 0.030 in. +1- (0.752
mm +1-) thick |
AR |
| |
2002-037-017
|
SHIM, 0.040 in. +1- (1.016
mm +1-) thick |
AR |
| |
2002-037-018
|
SHIM, 0.050 in. +1- (1.270
mm +1-) thick |
AR |
| |
2002-037
-019 |
SHIM, 0.060 in. +1- (1.526
mm +1-) thick |
AR |
| |
2002-037-020
|
SHIM, 0.070 in. +1- (1.777
mm +1-) thick |
AR |
| 139 |
2000-133-075
|
BEARING CONE, Intermediate, cover |
1 |
| 140 |
2002-584-001
|
INTERMIT. SHAFT, 28T**.
1.2800:1 ratio |
1 |
| |
2002-584-002
|
INTERMIT. SHAFT, 31T**.
1.5030:1 ratio |
1 |
| |
2002-584-003
|
INTERMIT. SHAFT, 36T**.
1.9862:1 ratio |
1 |
| |
2002-584-004
|
INTERMIT. SHAFT, 39T**.
2.4960:1 ratio |
1 |
| 141 |
2000-133-071
|
BEARING CONE, Intermediate, case |
1 |
| 142 |
2000-133-070
|
BEARING CUP, Intermediate, case |
1 |
| 143 |
1000-183-090
|
BOLT, oil shield and pick-up
tube. |
1 |
| 144 |
2002-534-001
|
PICK-UP TUBE, oil. |
1 |
| 145 |
1000-141-214
|
O-RING, pick-up tube. |
1 |
| 146 |
2002-036-001
|
SHIELD,
oil. |
1 |
| 147 |
2000-183-009
|
SCREW, magnet attach. |
1 |
| 148 |
4915 |
MAGNET
|
1 |
| 149 |
1332-149-003
|
SPRING NUT, flat. |
1 |
| 150 |
2000-633-002
|
BEARING, output cover
side cone & cup. |
1 |
| 151 |
2000-133-072
|
BEARING CUP, output cover side. |
1 |
| 152 |
2000-133-073
|
BEARING CONE, output cover side. |
1 |
| 153 |
2002-070-001
|
GEAR, output. |
1 |
| 154 |
2000-633-001
|
BEARING, output case side
cone & cup. |
1 |
| 155 |
2000-133-069
|
BEARING CONE, output case side. |
1 |
| 156 |
2000-133-068
|
BEARING CUP, output case side. |
1 |
| 157 |
444685 |
PIPE PLUG, input clutch
service port. |
1 |
| 158 |
1000-183-077
|
RIVET, name plate. |
2 |
| 159 |
|
NAME
PLATE |
NSS |
| 160 |
2002-065-001
|
CASE |
|
| *Driven Gear
|
| **Driving Gear
|
|
|
|
|